• 5252阅读
  • 22回复

[义乌楼市]1.7亿!义乌宾王路A-1地块顺利成交 [复制链接]

上一主题 下一主题
离线网站十五
 

发帖
8440
奖学金
12021
威望
65054
微信分享到朋友圈 图酷模式 只看楼主 倒序阅读 腔主  发表于: 2022-07-25
马上注册,结交更多好友,享用更多功能,让你轻松玩转义乌十八腔,更多精彩评论请登录后查看。
  已有账号?点击登录
关闭
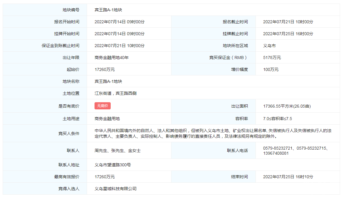
7月25日,江东街道宾王路A-1地块成功出让,义乌星城科技有限公司以17260万元顺利摘得。


成交地块位于江东街道,东至梅湖新村,西至宾王路,北至江滨绿廊,总用地面积17366.55㎡(约26亩)。地块起始价为1.726亿元,竞买保证金5178万元。规划用地用途为商务金融用地,容积率为7.00-7.50,建筑控制高度≤150米,建筑密度40%-50%。


地块可分割销售建筑面积不得超过地上总建筑面积的60%,最小分割单元套内建筑面积不得小于100平方米。

建筑应采用公共走廊式布局,卫生间应按层集中设置,不得采用单元式或住宅套型设计。标准层层高不得超过4.2米。地块内建筑除集中设置的厨房和供热设备间外,不得另行设置厨房和设计、安装其他燃气设施。

地下室不得超过4层,单层层高不得超过5.5米,严禁改变用途。地块不设置围墙,外部空间应开放。


项目用于商务办公,地上建筑面积40%自持,60%可销售,销售部分需在项目竣工验收后方可对外销售

成交后受让人除与出让人签订《国有土地使用权出让合同》(详见网上出让文件)外,须先与义乌市人民政府江东街道办事处签订《义乌“宾王路A-1地块”项目投资协议》(详见网上出让文件)并及时报出让人备案。若竞得人未在规定时间内完成《义乌“宾王路A-1地块”项目投资协议》签署工作的,则其在网上交易成交的行为将被认定无效,竞买保证金不予返还。


目前,宾王路江东街道范围汇集义乌市场监管局、审计局、民政局、勘测设计研究院、中国人民银行等众多行政与金融机构单位,还分布有江东天第、吾悦广场、时代广场、城市风景等高层住宅项目,是江东街道核心的商业行政中心。

宾王路作为进入江东板块的重要道路之一,位于宾王桥头的A-1地块紧邻义乌江畔,亦是宾王路在江东的起点,理应展示门户地标形象。功能安排上为商务用地,在空间形态的塑造上,凸显了街道的门户形象。

整理:义乌房子网
编辑:网站十五

加房小帮微信
陪你畅谈义乌楼市、解决买房大小事

7条评分威望+7
特别声明:帖子及回帖全部内容为论坛用户自行上传发布并承担相应的法律责任,不代表本网站观点和立场,本网站仅提供信息存储服务。任何用户如认为页面上的特定内容涉及侵权,可通过页面底部侵权投诉指引向我们进行投诉。
本帖共有22条回复,请登录后查看。
  已有账号?点击登录
快速回复
限100 字节
如果您提交过一次失败了,可以用”恢复数据”来恢复帖子内容