• 4946阅读
  • 7回复

[义乌楼市]13.97亿!楼面价12904元/㎡!商城房产拿下福田市场旁涉宅地块 [复制链接]

上一主题 下一主题
离线郁憧
 

发帖
15
奖学金
17
威望
24
微信分享到朋友圈 只看楼主 倒序阅读 腔主  发表于: 2022-11-07
马上注册,结交更多好友,享用更多功能,让你轻松玩转义乌十八腔,更多精彩评论请登录后查看。
  已有账号?点击登录
关闭

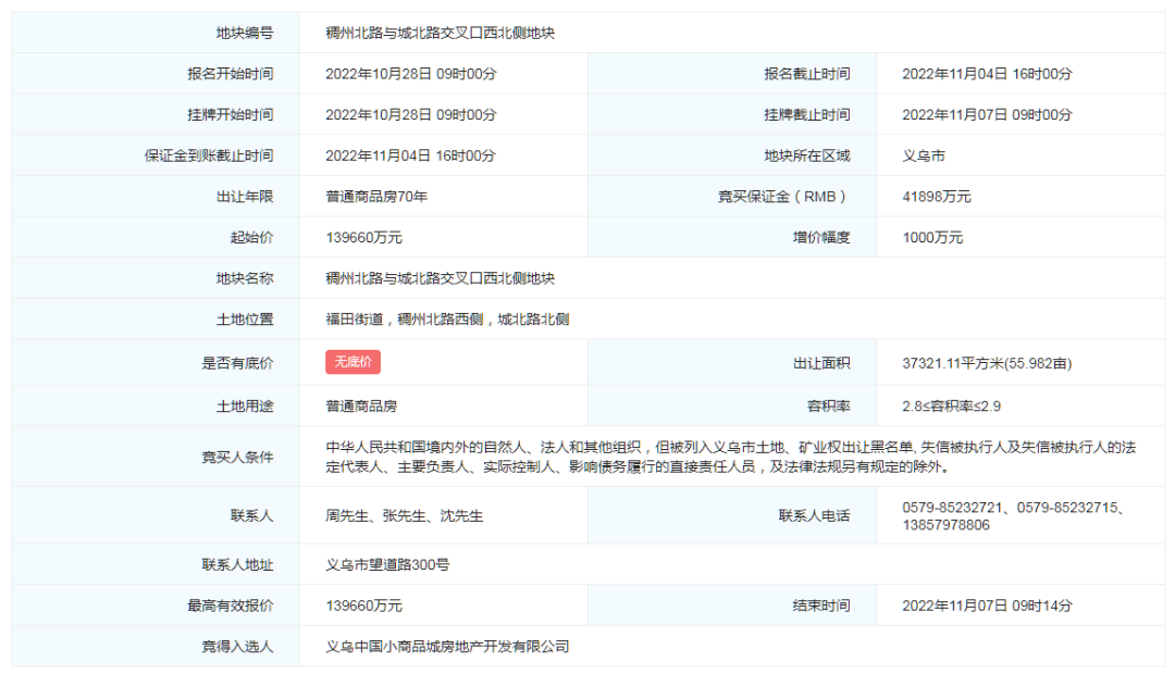
11月7日,稠州北路与城北路交叉口西北侧地块成功出让。


义乌中国小商品城房地产开发有限公司139660万元取得该地块,成交楼面价12903.86元/㎡


成交地块位于福田街道,稠州北路西侧城北路北侧。出让面积约37321.11㎡(55.982亩),起始总价139660万元起始楼面价12903.86元/㎡。
土地用途为商业、商务金融、城镇住宅、城镇道路用地,容积率为2.80-2.90,建筑密度≤35%,建筑限高≤100m。



商业(不含旅馆)和住宅总建筑面积(不含物业等配套设施)不应超过7.45万平方米,其中商业和配套用房建筑层数不应超过2层,商业建筑面积为1000-2000平方米,住宅建筑高度不应少于50米。
S2地块内应建设两栋建筑,两栋建筑地上总建筑面积不应超过3.15万平方米。
其中一栋建筑为商务,建筑高度不应少于90米,地上建筑面积不应少于1.75万平方米,商务产权允许分割销售,且单层分割单元不应超过4个,各分割单元面积基本一致(按偏离单层内各分割单元建筑面积的平均值幅度不超过10%进行控制);
一栋建筑为旅馆,建筑高度不应少于60米,地上建筑面积不应少于1.35万平方米,旅馆产权允许分割销售,最小分割单元建筑面积不应少于50平方米。商务、旅馆标准层层高不得超过4.2米。

住宅不得设置开敞式阳台,沿城北路、稠州北路侧住宅立面须公建化处理,住宅标准层层高不得超过3.2米。
住宅最小套型总建筑面积不得小于70平方米,且套型总建筑面积小于90平方米的套数不应超过高层住宅总套数的30%。
地下室不得超过3层,单层层高原则上不得超过5.5米, 游泳池区域可适当提高。地下室用于人防、消防、储藏、停车等配套设施,允许集中配建不超过1500平方米的生活辅助用房(游泳池、健身房),不得设置车库,严禁改变用途。
地块内含道路面积507.10㎡,应按城市道路标准建设,施工方案应与建设部门做好衔接,待项目施工完成后,地上道路部分应无偿移交给市政府。

4条评分威望+4
特别声明:帖子及回帖全部内容为论坛用户自行上传发布并承担相应的法律责任,不代表本网站观点和立场,本网站仅提供信息存储服务。任何用户如认为页面上的特定内容涉及侵权,可通过页面底部侵权投诉指引向我们进行投诉。
本帖共有7条回复,请登录后查看。
  已有账号?点击登录
快速回复
限100 字节
如果您提交过一次失败了,可以用”恢复数据”来恢复帖子内容