• 3724阅读
  • 16回复

[义乌楼市]超21亿!楼面价19376元/㎡!义乌秦塘地块成功出让 [复制链接]

上一主题 下一主题
离线网站十五
 

发帖
8440
奖学金
12021
威望
65054
微信分享到朋友圈 图酷模式 只看楼主 倒序阅读 腔主  发表于: 2022-11-10
马上注册,结交更多好友,享用更多功能,让你轻松玩转义乌十八腔,更多精彩评论请登录后查看。
  已有账号?点击登录
关闭
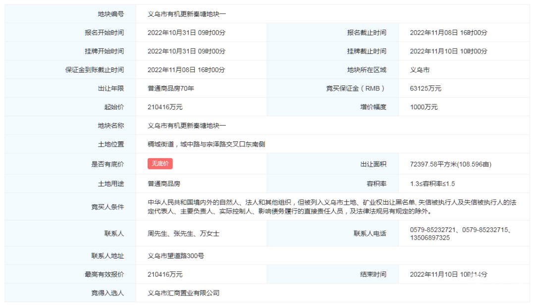
11月10日,义乌市有机更新秦塘地块一成功出让。义乌市汇商置业有限公司(市场集团)210416万元取得该地块,成交楼面价19375.97元/㎡


地块位于稠城街道,城中路与宗泽路交叉口东南侧。出让面积72397.58㎡(108.596亩),起始总价210416万元起始楼面价19375.97元/㎡。

土地用途为城镇住宅、教育用地,容积率为1.30-1.50,建筑密度≤40%,建筑限高≤80m。


住宅总建筑面积(不含物业等配套设施)不应超过10.2万平方米,其中高层住宅建筑面积不应少于6.8万平方米。裙房为配套用房,建筑层数不应超过2层。

沿城市道路侧高层住宅立面须公建化处理,不得设置开敞式阳台。高层住宅标准层层高3.0-3.2米。住宅最小套型总建筑面积不得小于70平方米,且住宅套型总建筑面积小于90平方米的套数不应超过高层住宅总套数的30%。低层住宅屋顶形式为坡屋顶(不得设置平段)。


地下室不得超过3层,单层层高原则上不得超过5.5米,游泳池区域层高可适当提高。地下室用于人防、消防、停车、储藏等配套设施,允许集中配建不超过1500平方米的生活辅助用房(游泳池、健身房),严禁改变用途,高层住宅区域不得设置地下车库。

应配建一座12班幼儿园,幼儿园地上建筑面积4500平方米,地下机动车位60个,幼儿园必须完成二次精装修后随地块同步无偿交付。幼儿园方案须报教育局审核。

整理:义乌房子网
编辑:网站十五


加房小白微信
陪你畅谈义乌楼市

5条评分威望+5
特别声明:帖子及回帖全部内容为论坛用户自行上传发布并承担相应的法律责任,不代表本网站观点和立场,本网站仅提供信息存储服务。任何用户如认为页面上的特定内容涉及侵权,可通过页面底部侵权投诉指引向我们进行投诉。
本帖共有16条回复,请登录后查看。
  已有账号?点击登录
快速回复
限100 字节
如果您在写长篇帖子又不马上发表,建议存为草稿