• 2939阅读
  • 16回复

[义乌楼市]非遗陶瓷文化馆、非遗竹编馆将落户义乌城西街道 [复制链接]

上一主题 下一主题
离线网站十五
 

发帖
8440
奖学金
12021
威望
65054
微信分享到朋友圈 图酷模式 只看楼主 倒序阅读 腔主  发表于: 2022-11-17
马上注册,结交更多好友,享用更多功能,让你轻松玩转义乌十八腔,更多精彩评论请登录后查看。
  已有账号?点击登录
关闭
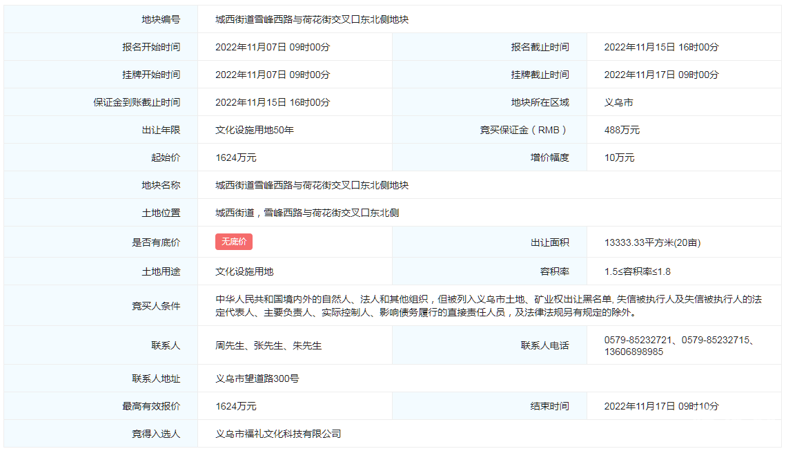
11月17日,城西街道雪峰西路与荷花街交叉口东北侧地块以底价1624万元顺利成交。

地块位于城西街道,雪峰西路与荷花街交叉口东北侧,总用地面积13333.33㎡(20亩)。地块起始价1624万元。土地用途文化用地,容积率1.50-1.80,建筑控制高度≤24米,建筑密度≤45%。



地块建筑在满足功能要求前提下,设计风格、体量、造型、色彩应用与周边环境相协调,规划建筑方案按照《城西街道雪峰西路与荷花街交叉口东北侧地块建筑设计方案 》执行。

地下室不得超过二层,单层层高不得超过5.5米。地块产权不得分割,地块应设置围墙,沿路围墙应通透、美观,与建筑方案一并报批。



根据地块建筑设计方案信息显示,该宗地块将建设非遗陶瓷文化馆和非遗竹编馆。







整理:义乌房子网
编辑:网站十五

加房小帮微信
陪你畅谈义乌楼市、解决买房大小事


11条评分威望+11
12
特别声明:帖子及回帖全部内容为论坛用户自行上传发布并承担相应的法律责任,不代表本网站观点和立场,本网站仅提供信息存储服务。任何用户如认为页面上的特定内容涉及侵权,可通过页面底部侵权投诉指引向我们进行投诉。
本帖共有16条回复,请登录后查看。
  已有账号?点击登录
快速回复
限100 字节
如果您提交过一次失败了,可以用”恢复数据”来恢复帖子内容