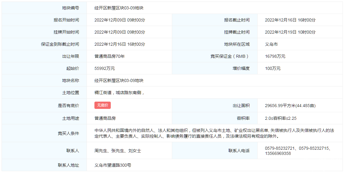
11月18日,经开区新屋区块03-09地块发布出让公告。
地块位于稠江街道,城店路东南侧。 出让面积29656.99㎡(44.485亩),起始总价55992万元,起始楼面价8391.05元/㎡。
土地用途商业、城镇住宅用地,容积率2.00-2.25,建筑密度≤30%,绿地率≥30%,建筑限高≤50m。挂牌截止时间为2022年12月19日上午10时00分。
地块住宅建筑形式为高层,裙房为商业和配套用房,裙房建筑层数为1-2层。商业和住宅总建筑面积(不含物业等配套设施)不应超过6.68万平方米,其中商业建筑面积为1000-2500平方米。 住宅标准层高不超过3.2米,最小套型总建筑面积不得小于70平方米,且住宅套型总建筑面积小于90平方米的套数不应超过住宅总套数的40%。地下室不得超过3层,单层层高不超过5.5米,游泳池区域层高可提高至8米。允许集中配建不超过1000平方米游泳池、健身房等为小区配套服务生活辅助用房,不得设置车库,严禁改变用途。
地块沿商业裙房侧可不设置围墙其余围墙应通透、美观,围墙方案与建筑方案一并报批。沿街配建建筑面积80平方米公厕,建成后应无偿移交。

整理:义乌房子网