• 3379阅读
  • 12回复

[义乌楼市]1.03亿!义乌模具城三期地块成交 [复制链接]

上一主题 下一主题
离线网站十五
 

发帖
8440
奖学金
12021
威望
65054
微信分享到朋友圈 图酷模式 只看楼主 倒序阅读 腔主  发表于: 2022-11-23
马上注册,结交更多好友,享用更多功能,让你轻松玩转义乌十八腔,更多精彩评论请登录后查看。
  已有账号?点击登录
关闭
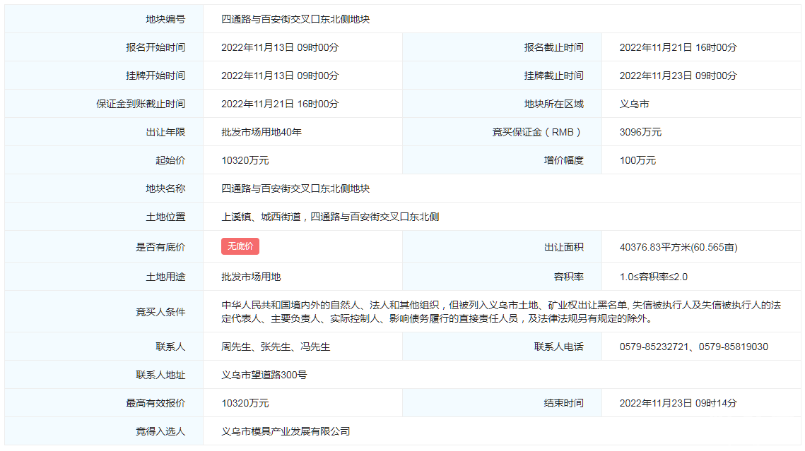
11月23日,四通路与百安街交叉口东北侧地块以10320万成功出让,义乌模具城三期项目迎来新进展。



成交地块位于上溪镇、城西街道,四通路与百安街交叉口东北侧,面积为40376.83㎡(60.565亩),地块起始价为10320万元。

土地用途为商业用地,容积率为1.00-2.00建筑控制高度≤27米,建筑密度≤50%,商业用地40年。


在征得西侧相邻地块权利人同意的情况下,平面和地下室布局允许统筹考虑。地块产权应自持,不得转让。

地块内建筑在满足功能要求前提下体现时代感,设计风格、体量、造型、色彩应与周环境和建筑相协调。地下室不得超过3层,单层层高不得超过5.5米。地下室用于储藏、停车、人防、消防等设施,严禁改变用途。地块可不设置围墙。


义乌模具城三期项目位于义乌模具城一区北大门对面、G235国道北侧地块。该项目规划布局模具高端制造及关联配套行业,打造模具交易、生产、制造、设计等全链条发展平台,将成为华东地区规模最大、配套最齐全、功能最完善的模具产业基地之一。


整理:义乌房子网
编辑:网站十五

加房小帮微信
陪你畅谈义乌楼市



9条评分威望+9
特别声明:帖子及回帖全部内容为论坛用户自行上传发布并承担相应的法律责任,不代表本网站观点和立场,本网站仅提供信息存储服务。任何用户如认为页面上的特定内容涉及侵权,可通过页面底部侵权投诉指引向我们进行投诉。
本帖共有12条回复,请登录后查看。
  已有账号?点击登录
快速回复
限100 字节
如果您提交过一次失败了,可以用”恢复数据”来恢复帖子内容