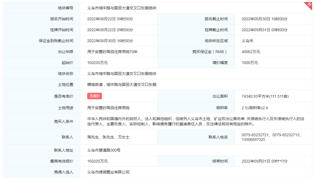
9月1日,城中路与国贸大道交叉口东侧地块成功出让,义乌市绣湖置业有限公司以160205万元竞得。
地块位于义乌市稠城街道城中路与国贸大道交叉口东侧,出让面积约74340.93㎡(111.511亩),其中包含道路面积2316.91㎡,公园绿地面积6254.14㎡,起始价160205万元。
土地用途为商业、城镇住宅、公园绿地、城镇道路、教育用地,容积率2.50-2.60,建筑密度≤30%,绿地率≥30%,建筑高度≤55米。 
根据规划,住宅建设形式为高层,裙房为商业和配套用房,建筑层数1-2层,商业建筑面积为7000-8000
㎡。应建设建筑面积不少于161245㎡的安置用房,不少于4252㎡的安置商铺以及不少于1230个地下机动车位用于安置。
沿国贸大道和城中路侧住宅立面须公建化处理,不得设置开敞式阳台。住宅标准层层高不得超过3.2米,最少套型总建筑面积不得少于105㎡。
地下室不得超过3层,单层层高原则上不超过5.5米,游泳池区域层高可适当提高。允许集中配建不超过1000㎡的生活辅助用房(游泳池、健身房),不得设置车库,严禁改变用途。
此外,小区将配建不少于3班的幼儿园,地上建筑面积不少于2000㎡。必须完成二次精装后随地块同步无偿交付。

去年4月,胜利(二)区块启动有机更新签约,9月启动1301套产权调换定位抽签。根据当时信息,该安置小区建成后,将分为东、西两个区块共22栋16-17层高层住宅,其中西区12栋,东区10栋,包含115、135、145、165多个户型。
整理:义乌房子网